据数据宝,两市全天特大单净流出234.32亿元众银策略,其中40股特大单净流入超2亿元,三花智控特大单净流入12.26亿元,特大单净流入资金居首。三维通信特大单净流入资金5.80亿元,位列第二;净流入资金居前的还有江特电机、软控股份、拓普集团等。特大单净流出股中,中际旭创特大单净流出资金18.05亿元,净流出资金最多;新易盛、工业富联特大单净流出资金分别为17.63亿元、16.99亿元,净流出资金规模位列第二、第三。
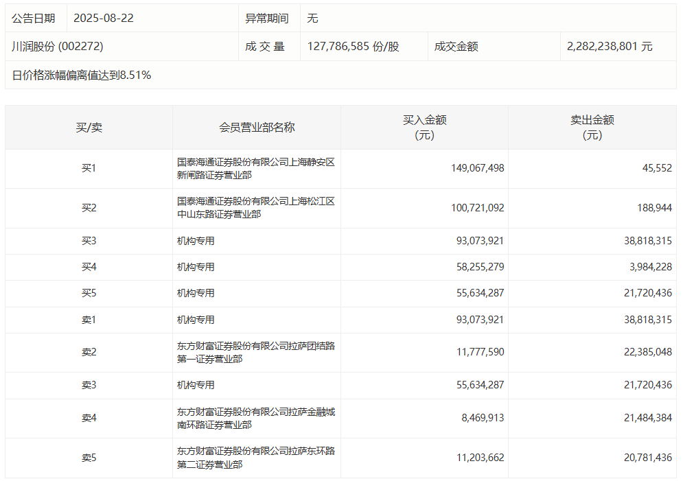
举报 相关阅读川润股份今日涨停 三机构净买入1.42亿元
18 08-22 16:42上交所在普及性活动中强化红利、低波、债券等普惠型ETF产品的推广众银策略,推动ETF产品和服务惠及更广泛投资者群体,持续培育理性投资、价值投资、长期投资的理念。
164 08-08 18:35公告称,本次交易有助于充分发挥双方协同效应,推动申通做大做强做优,加快推进品质快递网络的铺设和升级。
70 07-25 20:16荣盛石化现3.72亿元折价大宗交易
0 07-23 16:49许继电气今日涨停 五机构合计卖出4.92亿元
0 07-21 16:49 一财最热 点击关闭途乐证券提示:文章来自网络,不代表本站观点。